-
详细信息
定期排污扩容器,定期排污膨胀器
定期排污扩容器的用途
定期排污扩容器也称定期排污膨胀器。定期排污扩容器是将锅炉定期排污水或压力比定期排污膨胀器更高的排出的废热水,经过减压、扩容分离出二次蒸汽和废热水。二次蒸汽排入大气或作为热源利用,废热水一般经排污降温池排入下水系统。
锅炉排污水具有和锅炉相同的工作压力及其压力下的饱和水温,在定期排污膨胀器前设有节流阀降低压力,以便在定期排污膨胀器内扩容、降温,分离出二次蒸汽。所以对二次蒸汽和废热水作为热源加以利用,可以回收部分锅炉排污损失的热量,提高锅炉效率。
定期排污扩容器产品组成
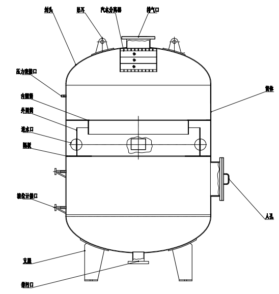
定期排污扩容器是由外壳、进水分配器、出气除泡器、人孔等组成。
定期排污扩容器工作过程
锅炉排污水均匀地排入排污扩容器,排污水在外壳中部的圆筒隔板中作切向运动,并且立即汽化成二次蒸汽,它经过上部百页窗式的汽水分离器进行汽水分离后,再经定排顶部的出口引出,而留下的排污水则通过水位调节阀排放。
定期排污扩容器设备结构图
定期排污扩容器的主要规格型号及技术参数:
注:根据用户需求,可设计各种规格定排,用户提供技术参数即可。产品型号 几何容积m3 设计压力MPa 设计温度℃ DP0.8 0.8 0.2 250 DP1.5 1.5 0.2 250 DP3.5 3.5 0.2 250 DP7.5 7.5 0.2 250 DP15 15 0.2 250
注意事项
1、当锅炉需要大量排污时,或液位调节阀故障时,应开通旁路阀加大排污。
2、顶部排汽阀的开度应调控,以保持定排内的工作压力。
3、调整液位调节阀的开度,使定排的水位在水位计的中间位置。
4、安全阀的工作压力须按规定整定。 -
您可能感兴趣
扫一扫,手机浏览





